Saltar al contenido principal Saltar a la búsqueda Saltar a la navegación principal
Envío gratuito a partir de 399 €
Socio de servicios de más de 50 fabricantes
Más de 40.000 piezas de recambio en la gama
+10 años de experiencia

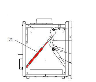
Wodtke dadoo resorte

resorte /  resorte de cierre / resorte de tracción / muelle de cierre

 

Información sobre el producto "Wodtke dadoo resorte"

original resorte para el estufa de chimenea Wodtke dadoo

Wodtke dadoo resorte datos clave:

  • resorte de tracción, muelle de cierre
  • longitud 49,3 cm
  • material metal
  • posición 21 en el plano con vista de despiece
Eigenschaften "Wodtke dadoo resorte"
Fabricante: Wodtke
material: metal
modelo: dadoo
tipo de pieza de repuesto: resorte

Representante de la UE

wodtke GmbH
Rittweg 55 - 57
D-72070 Tübingen-Hirschau
DE
info@wodtke.com

Productos similares

Wodtke dadoo vidrio de visualización
original vidrio de visualización para el estufa de chimenea Wodtke dadoo Wodtke dadoo vidrio de visualización datos clave: panel de vidrio, cristal de inspección material cristal resistente al calor negro con impresión posición 6 en el plano con vista de despiece
Número de producto: 01001096

1.091,15 €*

tiempo de entrega aprox. 2-3 semanas

Agotado
Wodtke dadoo desvío de tiro abajo
original desvío de tiro abajo para el estufa de chimenea Wodtke dadoo KK93 El fabricante ha interrumpido la producción de este artículo. Si tenemos un remanente, esta pieza de repuesto está disponible en nuestra casa Wodtke dadoo KK93 desvío de tiro abajo datos clave: placa deflectora, desviación del humo material vermiculita posición 17 en el plano con vista de despiece
Número de producto: 01001105

175,95 €*

ya no disponible, producción interrumpida

Wodtke dadoo junta de vidrio
original junta de vidrio para el estufa de chimenea Wodtke dadoo Wodtke dadoo junta de vidrio datos clave: cordón de sellado, junta sellado de cordón hueco longitud 5,00 m diámetro 6 mm autoadhesivo
Número de producto: 01001113

Contenido: 5 metro (16,09 €* / 1 metro)

80,44 €*

tiempo de entrega aprox. 2-3 semanas

Wodtke dadoo junta de la puerta
junta de la puerta para el estufa de chimenea Wodtke dadoo Recomendamos un adhesivo de sellado para esta junta de cordón. Para esta junta, se recomiendan bridas para evitar que los extremos se deshilachen. Wodtke dadoo junta de la puerta datos clave: bisagra de la puerta, cordón de sellado sellado de cordón longitud 2,00 m diámetro 14 mm
Número de producto: 01035816

Contenido: 2 metro (38,78 €* / 1 metro)

77,56 €*

Disponible, plazo de entrega: 4-6 días

Sólo 4 disponible
Wodtke dadoo rejilla de ceniza
original rejilla de ceniza para el estufa de chimenea Wodtke dadoo Wodtke dadoo rejilla de ceniza datos clave: rejilla, rejilla de la cámara de combustión dimensiones (A/L/A) 270 mm x 243 mm x 15 mm material fusión posición 11 en el plano con vista de despiece
Número de producto: 01036988

161,99 €*

Disponible, plazo de entrega: 4-6 días